Indeks: NASSYN1166
Marka: SYNOLOGY
Indeks: NASSYN1166
Marka: SYNOLOGY
Indeks: 115760111
Marka: Avast Software s.r.o.
Indeks: PCD4189
Marka: DELL
Indeks: 65327
Indeks: CSCL2000
Marka: COLORWAY
Banner
Warunki handlowe
Metody dostawy i płatności
Warunki reklamacji
Your message was successfully sent.
There was a problem with sending your message, please contact us via contact page.
Wydajny przełącznik L3 z 16 portami Gigabit Ethernet i zaawansowanymi funkcjami zarządzania siecią.
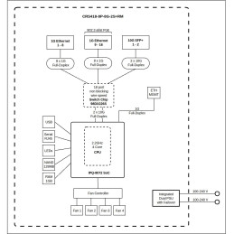
MikroTik CRS418-8P-8G-2S+RM to wielofunkcyjne urządzenie sieciowe, które łączy w sobie funkcje wydajnego przełącznika i routera. Dzięki wydajnemu 4-rdzeniowemu procesorowi ARM 2,2 GHz i sprzętowej akceleracji ruchu L3, radzi sobie nawet z wymagającymi operacjami sieciowymi. Urządzenie posiada 16 portów Gigabit Ethernet (w tym 8 z obsługą PoE) oraz 2 porty 10G SFP+, zapewniające szybkie połączenia.
Przełącznik jest wyposażony w 1 GB pamięci RAM DDR3L , 128 MB pamięci NAND oraz port USB 3.0 umożliwiający rozbudowę pamięci. Działa w oparciu o system operacyjny RouterOS v7 z licencją poziomu 5, który oferuje zaawansowane funkcje zarządzania siecią, w tym VLAN, ACL, SNMP i wiele innych.

Zaawansowany system operacyjny sieciowy RouterOS v7
Urządzenie działa w oparciu o w pełni funkcjonalny system operacyjny RouterOS v7, który oferuje kompletny zestaw narzędzi do zarządzania siecią. Umożliwia on konfigurację VLAN, ACL, SNMP, zaawansowane monitorowanie i kształtowanie ruchu bez dodatkowych opłat i subskrypcji.
Inteligentny kontroler PoE>
Zintegrowany kontroler Smart PoE umożliwia zasilanie podłączonych urządzeń bezpośrednio z przełącznika, obsługując standardy 802.3af/at oraz pasywne PoE 24 V. Porty Ether9 do Ether16 obsługują wyjście PoE z możliwością ustawienia limitów prądu dla każdego portu i łączną mocą wyjściową do 150 W.
Uniwersalne zastosowanie
CRS418-8P-8G-2S+RM idealnie nadaje się do hybrydowych środowisk sieciowych warstwy 2/3, niezależnie od tego, czy segmentujesz sieć za pomocą sieci VLAN, czy kierujesz ruchem między nimi. Dzięki wydajnemu procesorowi może zastąpić standardowe routery biurowe i działać jako brama internetowa, zapora sieciowa, a nawet kontroler CAPsMAN do zarządzania punktami dostępowymi.

PODSTAWOWE DANE TECHNICZNE
Procesor: czterordzeniowy IPQ-8072 2,2 GHz, ARM 64-bit
Układ przełącznika: 98DX226S
Pamięć RAM: 1 GB DDR3L
Pamięć: 128 MB NAND
Porty sieciowe: 16× Gigabit Ethernet, 2× 10G SFP+, 2× port zarządzania i konsoli RJ-45
USB: 1× USB 3.0 typu A
PoE-Out: 802.3af/at, porty Ether9 - Ether16
Maksymalna moc wyjściowa PoE: 150 W
Zasilanie: 2x wejście AC 100-240 V
Maksymalne zużycie: 215 W (28 W bez podłączonych urządzeń)
System operacyjny: RouterOS v7, licencja poziomu 5
Wymiary: 443 × 230 × 44 mm (montaż w szafie 1U)
Temperatura pracy: -20 do +70 °C
Zawartość opakowania: 2 x kabel zasilający, uchwyt do montażu w szafie rack, zestaw montażowy
Opis
Chwilowo nie możesz polubić tej opinii
Zgłoś komentarz
Zgłoszenie wysłane
Twoje zgłoszenie nie może zostać wysłane
Napisz swoją opinię
Recenzja została wysłana
Twoja recenzja nie może być wysłana
W naszej wycenie zawsze kierujemy się zasadami uczciwej ceny. Nie przesuwamy sztucznie cen i nie przechwalamy się zawyżonymi procentami. Zawsze możesz znaleźć historię cen każdego produktu.
check_circle
check_circle
Agartha Company s.r.o., operator hurtowego sklepu internetowego daycomp, informuje swoich klientów o godzinach pracy w okresie świątecznym.
Niedawno wprowadziliśmy do naszej oferty zmodernizowaną metodę elektronicznej dostawy wybranych licencji konsumenckich, która zapewnia szybs ...