Kód: NETXTE5898
Značka: XTENDLAN
Kód: NETXTE5898
Značka: XTENDLAN
Kód: 115760111
Značka: Avast Software s.r.o.
Kód: NASSYN1166
Značka: SYNOLOGY
Kód: PCD4189
Značka: DELL
Kód: 65327
Banner
Banner
Obchodní podmínky
Způsoby a doručení a platby
Reklamační podmínky
Vaša správa bola úspešne odoslaná.
Nastal problém s odoslaním správy, prosím uistite sa, že sú vyplnené všetky polia.
Výkonný L3 switch so 16 Gigabit Ethernet portami a pokročilými funkciami pre správu siete.
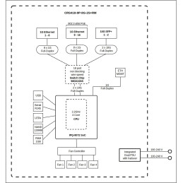
MikroTik CRS418-8P-8G-2S+RM predstavuje multifunkčné sieťové zariadenie, ktoré kombinuje výkonný switch s možnosťami routera. Vďaka výkonnému 4-jadrovému procesoru ARM 2,2 GHz a hardwarovej akcelerácii L3 prevádzky zvláda aj náročné sieťové operácie. Zariadenie disponuje 16× Gigabit Ethernet portami (z toho 8 s podporou PoE-out) a 2× 10G SFP+ portami pre vysokorýchlostné pripojenie.
Switch je vybavený 1 GB DDR3L RAM , 128 MB NAND úložiskom a portom USB 3.0 pre rozšírenie úložného priestoru. Prevádzkovaný je na operačnom systéme RouterOS v7 s licenciou úrovne 5, ktorý ponúka pokročilé možnosti správy siete, vrátane VLAN, ACL, SNMP a mnohých ďalších funkcií.

Pokročilý sieťový operačný systém RouterOS v7
Zariadenie beží na plnohodnotnom operačnom systéme RouterOS v7, ktorý ponúka kompletnú sadu nástrojov pre správu siete. Umožňuje konfiguráciu VLAN, ACL, SNMP, pokročilý monitoring a tvarovanie prevádzky bez dodatočných poplatkov alebo predplatného.
Smart PoE Controller>
Integrovaný Smart PoE Controller umožňuje napájať pripojené zariadenia priamo zo switchu s podporou štandardov 802.3af/at a 24V Passive PoE. Porty Ether9 až Ether16 podporujú PoE-out s možnosťou nastavenia limitov prúdu pre každý port a celkovým výstupným výkonom až 150 W.
Univerzálne nasadenie
CRS418-8P-8G-2S+RM je ideálny pre hybridné sieťové prostredie Layer 2/3, či už segmentujete sieť pomocou VLAN alebo smerujete prevádzku medzi nimi. Vďaka výkonnému procesoru môže nahradiť bežné kancelárske routery a fungovať ako internetová brána, firewall alebo dokonca ako CAPsMAN kontrolér pre správu prístupových bodov.

ZÁKLADNÁ ŠPECIFIKÁCIA
Procesor: quad-core IPQ-8072 2,2 GHz, ARM 64bit
Switch chip: 98DX226S
Operačná pamäť: 1 GB DDR3L
Úložisko: 128 MB NAND
Sieťové porty: 16× Gigabit Ethernet, 2× 10G SFP+, 2× RJ-45 manažment port a konzola
USB: 1× USB 3.0 typ A
PoE-Out: 802.3af/at, porty Ether9 - Ether16
Maximálny výstupný výkon PoE: 150 W
Napájanie: 2× AC vstup 100-240 V
Maximálna spotreba: 215 W (28 W bez pripojených zariadení)
Operačný systém: RouterOS v7, licencia úrovne 5
Rozmery: 443 × 230 × 44 mm (1U rackmount)
Prevádzková teplota: -20 až +70 °C
Obsah balenia: 2× napájací kábel, rackmount držiak, montážna sada
Tabuľka dát
Vaše hodnotenie nie je možné odoslať
Nahlásiť komentár
Správa odoslaná
Váš podnet nie je možné odoslať
Napíšte svoju recenziu
Skontrolovať pred odoslaním
Vašu recenziu nie je možné odoslať
check_circle
check_circle
Nakupujete bez registrácie? Platíte viac a prichádzate o dôležité výhody. Registrovaní zákazníci na daycomp.eu získavajú zľavy z obratu, pre ...
Spoločnosť Agartha Company s.r.o., prevádzkovateľ veľkoobchodného e-shopu daycomp, informuje svojich zákazníkov o prevádzkovej dobe počas vi ...
Do našej ponuky sme novo zaradili modernizovaný spôsob elektronického doručovania vybraných consumer licencií, ktorý prináša rýchlejší a poh ...